Глава 2
ИНСТРУМЕНТЫ И ПРИСПОСОБЛЕНИЯ
Для всякого ремесла требуется свой инструмент. Есть он и у корзинщиков. Прежде всего вам понадобятся ножи и секаторы. Один простой перочинный большого размера, другой специальный корзиночный в форме косого ласточкиного хвоста с закругленными углами. Он служит для обрезания концов прутьев, торчащих на только что сплетенной корзине. В продаже такие ножи встречаются редко. Но его можно сделать из старого столового ножа. Надо укоротить лезвие и снова закруглить конец, сделав его острым. В этом вся особенность ножа корзинщика. Работает только закругленный конец ножа. Можно обойтись и без него, работая простым перочинным ножом, только посноровистей.

Рис. 4 Нож для обрезания концов прутьев на готовой корзине

Рис.5 Обыкновенный перочинный нож
Рис.6 Садовые удобны для срезания лозы
Щемилка служит для очистки прутьев от коры. Вы ее можете сделать сами. Они бывают деревянные и металлические. Деревянная делается так. Возьмите три дощечки толщиной 5-6 мм, шириной 20 мм и длиной две по 200 и одну 80 мм. Короткую дощечку поставьте между длинными, столкните в одну сторону и скрепите шурупами, как показано на рисунке 7. Получится двухрожковая вилка. Прут закладывают в щель, сжимают рожки вилки и протягивают.

Рис.7 Щемилка деревянная
Металлические щемилки делают из 5-7 мм прутка. Щемилок надо иметь 3-5 штук разных диаметров (5, 7, 10 мм). Заложив прут в щемилку, сжимая и отпуская по мере надобности пружинящую петлю, продергивая через нее прутья, начиная с комля, очищают от коры.
С одного продергивания редко удается снять всю кору. Повторите еще и еще раз. Чтобы прут не выскальзывал из руки, прихватите его за комелек с тряпочкой.Для удобства работы нижний конец высокой щемилки упирают в чурбачок или еще в какой-нибудь предмет. А малой щемилкой попробуйте самой шмыгать по пруту. Сильно сжимать ручки не следует — разрушите древесину прута.
![]() |
![]() |
![]() |
|
Рис. 8 Металлические щемилки.
Слева — через которую продергивают прут, справа — которой
шмыгают по пруту |
||
Крюк. Пригодится вам при сгибании лучков из ореховых или ивовых палок. Он похож на большой гаечный ключ, только форма одного захвата не прямоугольная, а круглая. Прямоугольным захватом пользуются при сгибании палок, когда требуется не просто согнуть, а надломить ее, например, при изготовлении изделий квадратной формы.
Сделать крюк можно из металлической пластинки или отковать в кузнице.
Колунки. Само название говорит о назначении этого инструмента. Крупные прутья раскалывают на 2-3-4 части. Раскалывают толстую почти ровную часть прута, а тонкую отбрасывают. Она используется в круглом виде для плетения боков корзин.
|
|
|
|
![]() |
|
Рис. 10 Колунки для раскалывания прутьев: а —
на две части, б — на три части, в — на четыре части |
|||
Колунки можно сделать из металла, кости и дерева твердой породы (бук, яблоня, груша, ирга). В самый центр деревянного колунка забивают драночный гвоздик с таким расчетом, чтоб после того, как откусите шляпку, осталось еще 5 мм. Конец откушенного гвоздика гладко закруглите, чтоб он, внедряясь в рыхлую древесину, не порол ее, а плавно двигался по сердцевине, ведя за собой колунок точно по центру. Металлический двухгранный колунок, предназначенный для раскалывания прутьев на две части, можно тоже сделать с направляющим стержнем, а многогранный труднее. На двухгранном колунке стержень вытачивается вместе с гранями.
Конечно, металлический в работе надежнее. Но если ваша домашняя оснастка не позволяет сделать металлический, то пользуйтесь деревянным. Ручка деревянного колунка является продолжением самого колунка, а для металлических делаются отдельно. Длина ручки 15-25 см.
***
пропущена страница
***
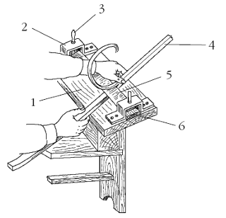
Шоф. Этот строгальный инструмент служит для получения из прута строганных лент, поэтому его еще называют плоскостным стругом (рис. 7). Простейшие плоскостные струги легко изготовить самостоятельно. В первую очередь надо подготовить нож, например, из ножовочного полотна. Лезвие ножа должно иметь одностороннюю заточку (наподобие стамески). Крепится нож к основанию обязательно под углом 5°. При большем угле шина, скорее всего, будет перерезаться, при меньшем – проскальзывать в зазоре между ножом и основанием струга. Один из вариантов шофа представляет собой деревянный или металлический брусок, на котором привернут шурупами или винтами нож. Вырезанный на бруске уступ образует зазор между ножом и бруском, соответствующий толщине ленты. Верхняя плоскость уступа срезана под углом 5°. Для возможного изменения зазора и, следовательно, толщины ленты применяются сменные подкладки-пластинки разной толщины.

Рис. 7. Шоф: а – на основе бруска; б – с прижимной колодкой; в – из деталей детского конструктора
Целесообразно иметь несколько таких стругов с разными зазорами. Ведь из толстой шины можно получить тонкую ленту, только протягивая ее в несколько переходов, постепенно уменьшая толщину.
Второй вариант отличается от предыдущего тем, что нож крепится к основанию прижимной колодки, а для создания зазора между ножом и основанием бруска предусмотрена сменная колодка клинообразной формы с углом наклона 5°.
Наиболее простым является третий вариант струга, где использованы детали детского металлического конструктора. На деревянном бруске крепится металлическая пластина, на которую четырьмя винтами привертывается нож. Под нож подкладывают со стороны лезвия по одной шайбочке, а с тыльной стороны – по две, обеспечивая таким образом нужный зазор и наклон между ножом и основанием струга.
При работе струг берут в левую руку, правой сначала заводят шину тонким концом в зазор между ножом и основанием, а затем начинают ее протяжку. Большой палец левой руки, защищенный напальчником из кожи, должен слегка прижимать шину к основанию перед лезвием ножа.
Если изготовление плоскостных стругов вызывает затруднение, то можно в деревянном брусочке прорезать канавку, над которой закрепить под углом нож. Протягивая шину через канавку, получают ленту, по толщине равную глубине канавки. Некоторые опытные мастера отстрагивают шины и без струга, просто пропуская шину между ножом и указательным пальцем правой руки (для предохранения на палец обязательно надевается кожаный напальчник).
Мастера называют следующие причины некачественного строгания: плохая заточка ножа; неправильная установка угла наклона ножа по отношению к основанию струга; ошибочное желание за один проход отстрогать из толстой шины тонкую ленту; применение для отстрагивания шин с сучками и утолщениями (и сучки, и утолщения перед отстрагиванием необходимо срезать).

Рис. 8. Шоф стационарный: 1 – основание; 2 – скоба; 3 – зажимной винт; 4 – шина; 5 – строгальный нож; 6 – деревянная прокладка
Шмол. Инструмент для строгания ивовых лент по ширине (рис. 9). Его еще называют краевым стругом. Понадобится деревянный брусок и два кусочка ножовочного полотна с односторонней заточкой. Далее в бруске кончиком ножа прорезаются вдоль волокон два гнезда под углом 5–10°, в которые затем вколачиваются ножи так, чтобы между лезвиями было расстояние, равное ширине ленты. Ножи размещают плоскими сторонами друг к другу. Между ножами намечается по центру линия, по которой прорезается призматическая канавка на всю длину бруска. Канавка крайне необходима для центрирования движения ленты и равномерного снятия лишнего материала с ее краев. Работать краевым стругом научиться легко. Струг берут в левую руку, а правой рукой заводят ленту узкой стороной между ножами и начинают протягивать шину. Шину укладывают в канавку округлой стороной. При этом большим пальцем левой руки, защищенным напальчником, прижимают ленту к основанию струга перед лезвием ножа.

Рис. 9. Шмол: а – одинарный; б – тройной
Учитывая, что прутья бывают разного диаметра и соответственно разные из них получаются и шины, целесообразно изготовить несколько краевых стругов – например, с расстоянием между ножами от 1,5 до 5,5 мм. Наиболее целесообразно иметь струг с зазором 2,5, 3 и 3,5 мм между ножами, так как указанные размеры лент наиболее используемы.
Несколько сложнее изготовить краевой струг с раздвижными ножами, зато такой струг позволяет настроить его на любую ширину ленты. При работе его крепят в тисках, что позволяет высвободить руки.
Перечислим основные причины некачественного строгания краевых стругов: если ножи не режут, а скоблят – значит велик угол между ножами; когда лента проскальзывает и края не срезаются – значит угол между ножами мал либо ножи ошибочно установлены плоскими сторонами наружу; еще возникает дефект при одностороннем срезании края ленты – значит, канавка прорезана не по центральной линии между ножами.
Жамки. Их изготавливают из стальных пластин. Жамки служат для выпрямления и сгибания прутьев. На одном конце делают кольцо с вырезом (рис. 10). В вырез закладывают прут, который нужно выпрямить или загнуть. Прямоугольный паз на другом конце служит для загибания прутьев под углом.
Кольцо и паз жамки должны соответствовать толщине прутьев. Размеры жамок: длина – 25–40 см, диаметр отверстия – 3–5 см, ширина выреза – 2,5–5 см.

Рис. 10. Жамка

Рис. 11. Ножи: а – для обрезания концов прутьев на готовой корзине; б – обыкновенный перочинный нож
Ножи. Мастера в основном используют два вида ножей. Один – простой перочинный большого размера, другой – специальный корзиночный, в форме косого ласточкиного хвоста с закругленными углами (рис. 11). Он служит для обрезания концов прутьев, торчащих на только что сплетенной корзине. В продаже такие ножи встречаются редко. Но их можно сделать из старого столового ножа. Надо укоротить лезвие и снова закруглить конец, сделав его острым. В этом вся особенность ножа корзинщика. Работает только закругленный конец ножа. Можно обойтись и без него, работая простым перочинным ножом.
Секатор. Обычный садовый секатор (рис. 12) – это основной, а порой и единственный инструмент при заготовке прута. Его также широко применяют и в плетении для обрезки концов прутьев и других работах.

Рис. 12. Секатор для срезания лозы
Молотки, плоскогубцы и круглогубцы. Молотков должно быть два, массой около 0,5 кг и 150–200 г. Плоскогубцы применяют, когда нужно вытащить согнувшийся гвоздь, перекусить проволоку, используемую для некоторых конструкций ручек, вытащить сломавшийся и уже заплетенный прут, и для других работ. Круглогубцы нужны в основном для того, чтобы перегнуть прут под прямым или острым углом без излома.
Изер. Этот инструмент еще называют «било». Он предназначен только для плетения. Делают его металлическим или деревянным (рис. 13). С помощью изера уплотняют плетение стенок крупных изделий. Металлическим изером колотят, как молотком (плоской пластины его частью), осаживая плетение. Деревянный же накладывают на верхний рядок плетения и бьют по изеру молотком. Заостренный, почти как у отвертки, конец изера позволяет раздвигать плотные ряды плетения. При необходимости его можно также применять, как мощный рычаг или клин. Деревянный изер изготавливают из твердых свилеватых (непрямослойных) пород дерева, чтобы он дольше служил и не расщеплялся от ударов. Все ребра изера скругляют, чтобы они не повреждали прут при ударах.

Рис. 13. Изер: а – металлический; б – деревянный. 1 – рукоятка; 2 – плоская сторона пластины; 3 – фаска; 4 – полукруглая сторона
Зажимы. В качестве зажимов могут с успехом использоваться пластмассовые прищепки. Они позволяют как бы увеличить количество пальцев на вашей руке. В роли зажимов также используются клинья, это заостренные куски твердого дерева, которые при плетении корзин с ручками вставляют в том месте, где должны быть ручки. Из готовых корзин клинья вынимают, а в оставшиеся на их месте гнезда вставляют концы ручек, последние должны быть заострены. Клин по своей длине должен быть таким, чтобы при извлечении из стенок корзины можно было ухватиться за его головку. Некоторые плетельщики корзин не пользуются клиньями; отверстия для ручек делают при помощи толстого шила после окончания плетения стенок.
Шаблоны. Применяются для изготовления очень многих изделий, особенно массового производства. Существуют разные виды шаблонов: обручи и рамки (их называют также бюгелями) разных форм и величин, шаблон-доска и шаблон-лекало, универсальный шаблон (рис. 14).

Рис. 14. Шаблоны для плетения корзин
Шаблон-доска предназначена для плетения донышек четырехугольных корзин. Доски делают из древесины липы или клена; их длина – до 60 см, ширина – до 25 см. В каждой доске просверливают несколько рядов отверстий, располагая их так, чтобы каждый из них служил при плетении корзин разной величины. В отверстия вставляют стойки основы дна корзины и заплетают прутом.
Шаблон-лекало по форме представляет собой точную копию внутренней стенки корпуса изделия. Его применяют при изготовлении самых разных изделий. Сначала к нему прикрепляют дно, а затем к последнему боковые стойки. Прижимая плотно к корпусу лекала боковые стойки и оплетая их, плетельщик создает изделие, точно соответствующее форме лекала. Шаблоны-лекала изготовляют из древесины.
Можно плести изделия и без шаблона, но для этого нужно быть мастером высокой квалификации. Применение шаблонов обеспечивает правильную форму и стандартность однотипных изделий, ускоряет процесс изготовления, упрощает работу.
Бюгели и рамки. Бюгелями или рамками называют шаблоны в форме обручей разнообразной величины сплетенные из прутьев (рис. 14-2). По изготовлении дна и укреплении к нему боковых ребер бюгель надевают сверху на ребра и, прикрепив их к нему на время плетения корпуса на надлежащей высоте, заставляют их принять очертания, соответствующие форме бюгеля.

Рис. 14-2. Бюгели
***
пропущена страница
***
наверное, заметили, что самый крепкий слой древесины — наружный, а ближе к центру она рыхлая и ломкая. При сгибании от сердцевины наружу лента может надломиться, а если гнуть наоборот, то надломов почти не бывает. Так что древесину, сострагиваемую стругом, жалеть не стоит, без нее лента и красивее, и прочнее. Снимают сердцевину, как мы уже сказали, стругом. Это нож с односторонней фаской, прикрепленный к доске толщиной 40 мм, шириной 100 мм и длиной, примерно, 250 мм. Между доской и ножом оставляется регулируемая щель 2-6 мм. Она образуется путем подкладывания под концы ножа пластинок: постоянной в 2 мм и дополнительных двух-трех, которые по мере надобности добавляются к основной или убираются, когда требуется убавить щель.
Напалок. Чтобы не травмировать палец, прижимающий шину перед самым ножом, сделайте напалок. Его не надо сшивать. Найдите кусочек мягкой кожи (срежьте со старого ботинка, приготовленного к выбросу) размером, примерно, 9x13 см, сделайте в нем отверстие в форме продолговатого овала, отступя от кромки сантиметра два (см. рисунок 15) , и напалок готов. Пропустите в отверстие палец. Он ложится поверх кожи. Теперь не травмируете палец.

Рис.15. Предохранительный напалок из куска кожи
Кромкорез. Простроганные ленты надо еще обработать на другом приспособлении, выровнять их по ширине. Для этого срезают кромки. Ленты, обрезанные с трех сторон, очень удобны в работе, особенно при плетении малых изделий. Кромкорез вы тоже можете сделать сами. Ножи с односторонней фаской можно сделать из кусков старой ножовки.
Кромкорез состоит из двух брусков сечением 40*40 мм. Бруски скреплены между собой на одном конце простой навеской, позволяющей другим концам расходиться в разные стороны. Противоположные концы соединены винтом, имеющим мелкую нарезку и расплющенную головку. В отверстие одного бруска врезается четырехугольная гайка с резьбой, соответствующей резьбе винта. В нее входит винт, соединяющий концы брусков. Закручиванием и откручиванием винта регулируется ширина обрабатываемой ленты. На верхней стороне одного из брусков прикрепляется металлическая пластинка размером, равным ширине двух брусков, длиной сантиметров 20. По ней будет продвигаться обрабатываемая лента.
Впереди этой пластинки шурупами крепится нож. Другой точно такой же нож крепится к другому бруску. Оба под острым углом. Оба ножа однофасочные. В брусках под ножи делаются гнезда, задающие острый угол.
Между брусками ставится пружина, которая держит установленную винтом ширину
ленты.
Работа на кромкорезе производится так. Приспособление кладут ножами вверх. Ленту
пускают вершинным концом вперед и продергивают между лезвиями ножей до комлевого
конца. Работа кропотливая, требует терпения.
Затупившиеся ножи можно отвернуть и поточить.
Допускаем, что вам наскучит возиться с этим кромкорезом. Тогда откажитесь от него. Но это не значит, что вы отказываетесь от применения лент и шин. Без них, надо признаться, многие изделия трудно сделать. Круглый прут не всегда может заменить ленту. Наловчитесь срезать кромки перочинным ножом. Начинайте с комля и аккуратненько, не позволяя ножу отклоняться в стороны, срезайте. Это не так споро, как на кромкорезе, и не всегда ровно, но вполне приемлемо. Ширину постарайтесь выдерживать на глаз. Это очень важно, так как плетут лентами, стыкуя комель с комлем, вершину с вершиной. Получается как бы единый прут.
Шилья. Они потребуются при заплетении верхних кромок безлучковых корзин, при возведении основы этих корзин, при устройстве ручек. Их надо иметь, по крайней мере, три. Одно — толще карандаша, другое — раза в два тоньше, а третье — среднее между ними. Сделать их очень просто. Найдите подходящий сучок яблони, отрежьте от него конец сантиметров десять, грубо обработайте и забейте в торец большой 150 мм гвоздь на глубину 30-40 мм. Затем откусите шляпку и заточите конец. Особой остроты не требуется. Обработайте поаккуратней ручку. Другое шило сделайте из 120 мм гвоздя, а третье можно сделать из прутка.


Рис. 16. Шилья
Широко применяется ромбическое шило. Оно постоянно в работе, особенно при плетении дна и ручек корзин. Этим шилом можно легко сделать отверстия в пруте или палке, не расколов ее.

Рис. 16-2. Различные виды шильев
Клинья. Они делаются из любой древесины. Длина их 20-25 мм, толщина — с карандаш и более. Клинья потребуются при загибке основы, когда заплетают верх корзины косичкой. Их потребуется штук 10. Изображать клинья на рисунке нет надобности.
![]() |
![]() |
|
Рис. 17. Било (колотушка)
Справа — разрез по А-А |
|
Било. Это колотушка, с помощью которой уплотняют плетение боков корзины и дна, если оно плетется на вставленных в доску стояках. Форма колотушки такова, что позволяет простучать плетение как с редкой, так и с частой основой. Для этого надо только поворачивать било то широкой, то узкой стороной, то постукивая удаленным концом, который тоньше, то тем, что ближе к ручке. Размеры колотушки такие: ручка 12 см, рабочая часть 15-20 см. Форма — пологий конус. В разрезе — яйцевидная. Сделать ее можно из сухого сучка рябины, яблони, груши, словом, из тяжелого дерева.
Профессиональные корзинщики заказывают колотушку кузнецу. Но не обязательно иметь металлическую колотушку. Простучать наплет можно и молотком через подходящую чурочку.
* * *
Вам потребуются еще некоторые инструменты, описывать которые нет нужды, например, молоток, плоскогубцы. Они у каждого под рукой. Понадобится еще кочедык, лапотная колодка. Про эти штуковины расскажем в последней главе. Здесь упомянуто все, что требуется корзинщику.
Формы. Когда плетут целую серию одинаковых изделий и хотят, чтобы они были похожи одно на другое, как инкубаторные цыплята, то пользуются формами. Формы помогают также при плетении сложных изделий.
Ниже, на рисунках 18 и 19, изображены некоторые формы, которые могут понадобиться корзинщику.
![]() |
![]() |
![]() |
|
Рис. 18. Формы для плетения канцелярских корзин
|
||
Сделать их можно из чурок дров, из планок старых ящиков, нашивая их на обручи или сшивая между собой.
![]() |
![]() |
![]() |
![]() |
|
Рис. 19. Формы для плетения
малых изделий. Внизу разборная
|
|
Мы показали много инструментов и приспособлений, которые нужны корзинщику. Но это не значит, что вы не должны приступать к работе, пока не обзаведетесь колотушкой или шилом. Корзинку можно сплести, имея в руках только один перочинный нож. Авторы этих строк, бывало не раз, шли на прогулку по берегу речки, встречали заросли хорошей лозы, доставали перочинные ножи, резали прутья, садились на бережку и плели корзины. Спустя 2-3 часа возвращались с новыми корзинами. А однажды еще и наполнили эти корзины шампиньонами, которые так заманчиво белели на луговине, где несколько лет подряд паслось коровье стадо.
Одно замечание. Приучайте себя, как подобает мастеру, все работы делать в фартуке. При плетении корзин это особенно важно. Сок, оставшийся на прутьях, может несмываемо задубить вашу рубашку. В процессе плетения вы часто держите изделие на коленях. Острые концы прутьев могут быстро излохматить ваши брюки и рубашку. Может случиться так, что вы демонстрируете свою корзиночку, а кто-то заметит: "Погляди, как рубаху-то уделал, мастер!" Чтобы этого не случилось, надевайте фартук. Он не только предохранит рубаху от порчи, но и придаст основательность вашим намерениям.












